YDF系列噴流誘導風機
一、特性及應用
誘導風機是無風道射流誘導通風系統的一部分,它與送風風機、排風風機組成整個系統。其原理是由以系統設計、適當不止的多臺誘導風機噴嘴射出的定向高速氣流、誘導室外的新鮮空氣或經過處理的空氣,在無風管的條件下將其送到所要求的區域,實現最佳的室內氣流組織,以達到高效經濟的通風換氣效果。使用無管道射流誘導通風系統時,可省去設計、制造、安裝風管及其他配套工程方面的費用,這部分費用比使用的誘導風機機組昂貴的多,而且以整個層面為通風風道,送風風機、排風風機所需要風壓比使用管道時小的多,這樣就可以選用大風量較低風壓的風機,使所需功率降低,大幅地降低了運行成本和投資費用。當送排風機停止運轉時,誘導風機仍可運轉,起到局部通風換氣的作用。
誘導風機內置高效率離心風機、噪聲低、體積小、重量輕、吊裝方便(立式、臥式安裝均可)、維護簡單,廣泛配套應用于地下停車場,體育館、車間、倉庫、商場、超市、娛樂場所等大面積場合的通風。
YDF-Ⅰ型誘導風機一般用于無風管誘導通風系統,有臥式和立、臥式兩用兩種結構型式,電機采用風機專用單相電機。
YDF-Ⅱ型誘導風機為柜式箱體結構,臥式安裝,皮帶傳動。配用三相電機,一般與螺旋圓風管、可橈曲噴嘴組合成有風管的誘導通風系統。
噴流誘導系列可設計智能系統,在誘導空間內設置空氣質量傳感器,用以探測一氧化碳濃度,通過控制器自動控制誘導風機的開啟與停止(配置智能誘導風機),以實現自動化控制。
二、誘導通風系統與傳統的風管式通風系統相比具有優點:
1、系統規劃設計簡單,設計變動彈性大,修改容易,布置靈活,噴射方向可隨時隨地調節;
2、安裝簡便,施工簡單,可安裝在有針對性的位置,消除死角。
3、維護簡單方便,單機維護,不影響整個系統的運行;
4、換氣質量高,誘導系統使用整個空間空氣完全流通,不留死角,提高了空氣品質;
5、風機由優質冷軋平板(超硬鋁合金框架)制成,外表噴塑,整機美觀大方,與空間裝飾的協調性好。
6、電機采用免維修護風機專用電機,內置高效離心風機,噪聲低,葉輪經高精度動平衡校驗,振動小。
三、性能參數及外形尺寸表
YDF系列性能參數表
|
型號
No |
風量
(m3/h) |
出口風速
(m/s) |
功率
(w) |
射程
(m) |
重量
(Kg) |
噪聲
dB(A) |
噴口直徑
(mm) |
YDF-I-6L |
650-850 |
11-15 |
100 |
10 |
20 |
50 |
Φ80*3 |
YDF-I-6W |
120 |
10 |
20 |
50 |
Φ80*3 |
YDF-I-12 |
1150-1350 |
14-24 |
180 |
15 |
35 |
58 |
Φ80*3 |
YDF-Z-2.2 |
1380 |
11-16 |
180 |
20 |
45 |
55 |
Φ175*1 |
YDF-II-2.25 |
2300 |
風壓1300Pa |
2200 |
/ |
130 |
80 |
Φ35*32 |
YDF-II-2.5 |
3600 |
風壓1736Pa |
3000 |
/ |
150 |
84 |
Φ35*36 |
YDF-II-2.8 |
6000 |
|
|
|
|
|
|
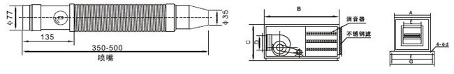
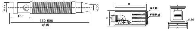
四、外形尺寸及噴嘴安裝形式
(1)YDF-Ⅰ-6L立式誘導風機示意圖(萬向球形噴嘴)
球體噴口臥式誘導風機由離心式通風機,消聲機箱、三個萬向球形噴嘴組成。回轉角度<60°,噴口Φ80×3。主要特點:噴口位置增加8個,可任意調整噴口位置,適應不同的設計和現場實際需要,機組不變化,風機效率提高。

(2)YDF-Ⅰ-6W1臥式誘導風機示意圖(萬向球形噴嘴)
球形噴口臥式誘導風機由離心式通風機、消聲機箱、三種以下導管組成。回轉角度<60°,噴口Φ80×3,主要特點:調節靈活方便回轉角大,適用在多種環境安裝,外形美觀大方。

(3)YDF-Ⅰ-6W2誘導風機示意圖(導管式噴嘴)
導管臥式誘導風機由離心式通風機、消聲機箱、三種以下導管組成。回轉角度<45°,導管長=400mm,Φ80×3,Φ100×2,Φ140×1,主要特點:氣流導向準確,噴射間距遠,接力傳遞卷吸量大。
(4)YDF-I-12誘導風機
可配用萬向球形噴嘴或導管式噴嘴,外形同YDF-I-6W
尺寸同YDF-I-6W1
(5)YDF-z-2.2誘導風機示意圖
無箱軸流誘導風機由軸流風機、消聲器、噴嘴、固定架組成,回轉角度<60°,噴口Φ175.
主要特點:產品類似隧道射流風機、射程更加長遠,適應高大型
場所,安裝方便。

(6)YDF-Ⅱ系列管道式誘導風機外形尺寸
YDF-Ⅱ系列管道式誘導風機箱有模具行程框架、離心風機、嵌入式消聲靜壓箱組成,回轉角度<45°噴口Φ36.離心風機采用低風量大壓力,全壓大于等于1750pa,風管采用螺旋有壓圓管,配裝小直徑的噴口以超高速的氣流傳遞卷吸量大,噴口自帶風量調節閥更能適應各種環境的適用。

規格型號 |
A |
B |
C |
D |
E |
F |
G |
4-Φd |
YDF-Ⅱ-2.25 |
600 |
1680 |
550 |
220 |
160 |
680 |
760 |
12.5 |
YDF-Ⅱ-2.5 |
660 |
1680 |
650 |
250 |
200 |
740 |
820 |
14.5 |
YDF-Ⅱ-2.8 |
720 |
1800 |
750 |
300 |
230 |
800 |
880 |
14.5 |
五、臥、立式安裝示圖
誘導風機機組是整個送排風系統的一個重要的中間通風銜接環節,進風口、排風口位置,誘導風機的安裝位置十分重要,直接關系到能否形成合理的氣流。理想的布局是讓送排風在空間上形成主氣流,通過誘導風機的誘導送風,來完成整個空間的送排風。

六、誘導風機數量的計算
所需誘導風機的臺數,在考慮通風方式(機械送排風,自然進風機械排風),有無隔墻,空間形狀的前提下,按每臺誘導風機所要承擔的面積計算,可參照下表確定:
序號 |
使用場合的情況 |
送排風方式 |
數量 |
1 |
空間不規則,隔墻及障礙物多,氣流滯留的場合。 |
自然進風、機械排風 |
100m2/臺 |
2 |
隔墻及障礙物多。但通排風氣流易形成。 |
自認進風、機械排風
機械進風、機械排風 |
150m2/臺 |
3 |
隔墻及障礙物較少,銅牌風氣流較理想。 |
機械進風、機械排風 |
200m2/臺 |
4 |
無障礙物,只有較矮的停放物 |
機械進風、機械排風 |
250m2/臺 |
七、可應用場合簡介
1.通風換氣效果比較
下圖為傳統式風管系統與誘導通風系統在CO濃度上的比較:
深色區域顯示各不同點的一氧化碳濃度,傳統的風管通風系統在車子經過的區域,優于僅為局部換氣,CO濃度明顯較高,而誘導通風系統,因是全風量換氣,平均CO濃度明顯較低,且最高的CO濃度出現在近排風設備處,若加裝CO感測器,因氣流分布均勻,探測效果好,可控制風機的運轉狀態,以節省電力費用。

2.誘導風機的誘導風量

根據動量定量及射流理論,誘導風機的誘導風量可用下式進行計算“Qx/QO=X/0.37
注:式中Qx-射程X處射流誘導風量,QO-誘導風機的風量;
當末端風速為0.5m/s,X=10m時,風量為650m3/h的一臺誘導風機可誘導風量達至17560m3/h
3.應用場合示圖
對地下停車場,可有效的排除汽車排放的以養虎灘及其他污染氣體,節省層高空間,方便其它管道布置,通風換氣的效果比傳統的風管通風系統更佳。
體育場館、室內游泳池、展覽中心等高達空間的建筑物,冬季時的熱空氣下送是個難題,通過使用誘導風機,可有效地解決尚不熱空氣的下送問題,提高底部溫度,節省能源‘夏季可使空調氣流組織理想,消除死角,使各部位都能保持舒適的溫度。
對于車間、倉庫、超市可在通道上方安裝誘導風機,有效地組織氣流的流動,不形成死角;并且可以隨著布局的調整,方便地調整誘導風機的布置位置。
注意消防通風時:1.排煙風機的選用:宜和平時排風機相結合機房合用。2.排煙風管可按“排煙口距防煙分區內最遠點的水平距離不超過30m”的原則布置,風管管徑角兒按規范規定的風速來確定。

|